Web design by Aleksey D. Zolotarenko | Contact Us




предыдущая страница                                              следующая страница


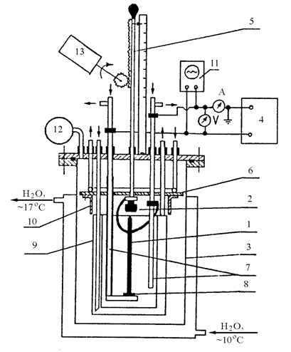
2.4. Многоцелевая электродуговая установка

Удобной для исследовательских целей является электродуговая установка, описанная в [19] (рис. 2.8). Устройство позволяет варьировать различные параметры процесса - величину тока и напряжения, зазор между электродами, давление гелия, расстояние от дуги до охлаждаемой поверхности, температурный градиент и т. д., что дает возможность проводить экспериментальные работы с различными электродами. Основой установки является емкость (3) из нержавеющей стали с водяной рубашкой. Перед напуском газообразного гелия емкость вакуумируется до 10-20 Торр. В качестве испаряемого анода используются графитовые стержни (1) диаметром 6 мм и длиной 200 мм, в качестве неиспаряемого катода (2) - стержни диаметром 12-16 мм. Графитовые электроды предварительно подвергаются в течение 2 ч термообработке в вакуумной печи при 800 оС и хранятся в вакуум-эксикаторе.
Установка может работать как при постоянном, так и при переменном токе. В качестве источника питания (4) дуги постоянного тока используется генератор типа СГ-300, обмотка самовозбуждения которого отсоединена от генератора и запитана от независимого источника постоянного напряжения, что обеспечивает более стабильные условия горения дуги при токах 50-150 А. Источником питания дуги переменного тока служит трансформатор типа ТПО-10/20/40ПК, напряжение в первичной обмотке которого регулируется автотрансформатором типа АОМН-40-220-75 УХЛ4. Стабилизация дуги переменного тока достигается последовательным включением в цепь вторичной обмотки трансформатора дросселя индуктивностью 0,6 на 10-3 Гн и сопротивлением 0,019 Ом. Крутопадающие вольт-амперные характеристики, как и при постоянном токе, позволяют стабилизировать ток, чтобы в определенном диапазоне он не зависел от расстояния между электродами.
Скорость испарения графитового стержня и длина дуги регулируются и поддерживаются постоянными путем изменения напряжения в обмотке управления асинхронного двигателя РД-09 (13). Неиспаряемый электрод (катод) перемещается с помощью реечной передачи вместе с тонким полированным стержнем (5) из нержавеющей стали диаметром 4 мм. Над графитовыми электродами располагается охлаждаемый водой медный экран (6), увеличивающий холодную поверхность, на которую осаждается сажа, и защищающий резиновые уплотнения во фланце емкости (3) от перегрева. Токовводы (7) выполнены из медных трубок и также охлаждаются водой. Таким образом, вся поверхность, на которую может осаждаться сажа, является охлаждаемой.
Медный держатель испаряемого стержня, вблизи которого горит дуга, защищен от оплавления графитовым кольцом (8). При использовании дополнительной подставки установка может работать и в горизонтальном положении. Кроме того, ее конструкция позволяет изменять взаимное расположение электродов по отношению друг к другу, что дает возможность изучать условия осаждения и охлаждения сажи при различных положениях электродов и охлаждаемой поверхности.



Рис. 2.8. Схема многоцелевой электродуговой установки: 1 – графито-вый стержень; 2 - нерасходуемый электрод; 3 - емкость;
4 - источник питания; 5 - стержень; 6 - медный экран; 7 - токовводы; 8 - графитовое кольцо; 9 - сосуд; 10 - дополнительный медный экран; 11 - осциллограф; 12 - вакуумметр; 13 - асинхронный двигатель РД-09.



Для проведения экспериментов в более сложном варианте внутрь емкости (3) помещается дополнительный охлаждаемый водой сосуд (9), диаметр которого (110 мм) близок диаметрам охлаждаемых поверхностей, используемых в ряде работ, и, по-видимому, является оптимальным. Имеющийся между экраном (6) и сосудом (9) зазор закрывается дополнительным медным экраном (10). Температура этого слабоохлаждаемого экрана, прикрепленного только в нескольких точках к охлаждаемому водой экрану (6), измеряется с помощью термопары. Если убрать экран (10), сажа может осаждаться на охлаждаемую и находящуюся в “тени” от облучения дугой поверхность емкости (3).
В качестве поверхности, которая одновременно находилась бы на оптимальном расстоянии от дуги и в то же время создавала бы “тень” на поверхности емкости (3), вместо сосуда (9) использовали охлаждаемую водой цилиндрическую винтовую спираль с таким же диаметром намотки, как и диаметр сосуда (9). Спираль навивали из медной трубки диаметром 10 мм с шагом 20 мм.
Контроль осуществляли через специальное застекленное окно как визуально, так и с помощью амперметра, вольтметра и осциллографа (11).
Изучение распределения осаждаемых фуллеренов по стенкам охлаждаемой емкости показало, что на стенках, расположенных ближе к дуге, сажи осаждается больше, чем на удаленных участках. Такая картина имеет место при вертикальном расположении электродов, когда подвижным является тонкий испаряемый стержень (рис. 2.9, а). Если подвижным стержнем становится катод (рис. 2.9, б), сажа на стенках емкости распределяется более равномерно.
При горизонтальном расположении электродов условия осаждения сажи другие. Большая часть сажи (до 90 %) за счет конвективных потоков осаждается над дугой (рис. 2.9, в и г).
Как и в случае вертикального расположения (см. рис. 2.9, б), более равномерный слой сажи над дугой образуется при перемещении катода (рис. 2.9, г). Оказалось, что содержание фуллеренов в саже, равномерно распределенной по поверхности (см. рис. 2.9, б), на 3–4 % выше, чем при неравномерном распределении. По-видимому, увеличение выхода фуллеренов в этом случае связано с образованием более тонкого, лучше охлаждаемого слоя сажи.
Выход фуллеренов на этой установке достигает 25 %.



Рис. 2.9. Распределение сажи при различном размещении электродов для вертикального и горизонтального расположения установки.

предыдущая страница                                              следующая страница




От авторов


Издание настоящей книги стало возможным благодаря реализации договора о творческом сотрудничестве между Институтом проблем материаловедения Национальной академии наук Украины и Институтом проблем химической физики Российской академии наук в рамках выполнения совместной программы “Фуллерены и атомные кластеры”.
За последние 10 лет наблюдается бурный рост потока информации в области знаний фуллереноподобных материалов, открытых в 1985 году. Задача, которую поставили авторы перед собой, состояла в том, чтобы обобщить эту информацию и в сжатой форме изложить основные представления о новом классе углеродных материалов. Из огромного информационного потока по фуллеренам, нанотрубкам и кластерам, а это десятки тысяч источников: книг, патентов, научных и популярных статей, был взят тот минимум, который позволил бы неискушенному читателю войти в мир углеродных наноструктур с его специфическими особенностями. Большой интерес среди ученых вызывает особенность строения фуллеренов, обусловленная их сферичностью. Завершенность элементарной структурной единицы, по сравнению с бесконечными кластерами атомов в карбине, графите и алмазе, обусловливает уникальную способность фуллеренов растворяться в растворителях. Это единственная растворимая форма углерода.
Фуллерены - интересный объект исследований во многих областях науки - физике, химии, геологии, биологии, медицине, материаловедении и других. Благодаря наличию у молекулы фуллерена большого количества атомов углерода открываются неограниченные возможности синтеза миллиардов новых соединений с новыми свойствами, а значит и новыми возможностями. Разработка и использование материалов, обладающих сложным комплексом физико-химических свойств, являются одной из основополагающих предпосылок создания техники XXI века. И фуллереноподобные материалы обладают всеми качествами, необходимыми для того, чтобы стать основой материалов будущих разработок. В настоящее время мы стоим только на стартовой черте изучения фуллереноподобных материалов и материалов, получаемых на их основе. Перспективы использования их безграничны.
Данные, представленные в четвертой главе этой книги, демонстрируют одну из блестящих возможностей использования этих материалов. Благодаря компактному и безопасному хранению водорода в фуллереноподобных материалах и материалах, полученных на их основе, становится экономически обоснованным и реальным переход человечества от эры использования запасавшейся миллионами лет солнечной энергии в виде ископаемых топлив к эре солнечно-водородного будущего: непосредственного преобразования солнечной энергии и применения водорода в качестве экологически чистого топлива и энергоносителя. Это будущее видится еще более оптимистичным, если учесть, что источником водорода является вода, которой достаточно на всех континентах и во всех странах. То есть снимается вопрос о странах, богатых топливом и бедных с энергетической точки зрения. Солнечной энергии хватит всем.
Надеемся, что эта книга станет для многих первой ступенькой в познании области науки о фуллеренах, пробудит интерес и желание узнать больше, шагнуть вперед и изучить неведомое.
Заранее приносим свои извинения за возможные опечатки. Мы с удовольствием и благодарностью примем все критические замечания и комментарии. Авторы благодарят В.Б. Черногоренко, А.П. Помыткина, Н.Ф. Гольдшлегер и А.П. Моравского за помощь в написании некоторых глав, а также благодарят О.И. Билык, Д.М. Мильто, Е.А. Лысенко за помощь в наборе и редактировании текста и иллюстраций.